The Fillet Command: Free AutoCAD Tutorial
Master AutoCAD's Fillet Command for Professional Design
This tutorial focuses on AutoCAD's Fillet command, teaching you to create rounded corners and curved connections for professional-looking technical drawings.
Tutorial Components
Exercise Preview
Get a visual overview of what you'll accomplish in this fillet command tutorial.
Exercise Overview
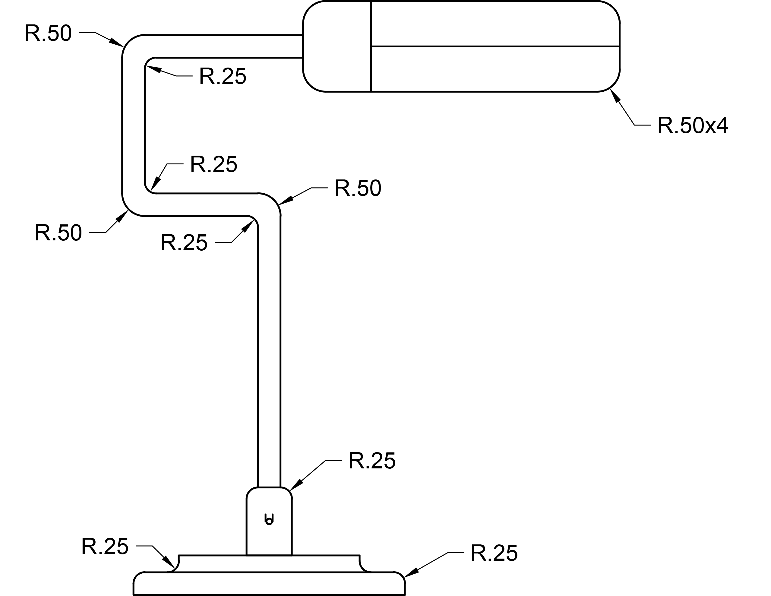
Understand the practical application of creating a more aesthetically pleasing desk lamp design.
Command Implementation
Learn the step-by-step process of using AutoCAD's Fillet command with various options and settings.
Transform a basic desk lamp drawing into a more visually appealing design by rounding corners using the Fillet command.
Fillet Radius Values Used
Setting Up the Fillet Command
Open File
Launch the Fillet-Desk Lamp.dwg file to begin the exercise
Start Command
Press F + Enter to initiate the Fillet command in AutoCAD
Enable Multiple Mode
Press M + Enter to activate Multiple option for continuous filleting
Set Radius
Press R + Enter and specify 0.5 as the initial radius value
Using the Multiple option allows you to fillet as many corners as needed and change settings without ending the command until you press ENTER.
Fillet Command Options
| Feature | Standard Mode | Multiple Mode |
|---|---|---|
| Corners per execution | One corner only | Multiple corners |
| Command persistence | Ends after one use | Continues until ENTER |
| Settings changes | Requires restart | Change radius anytime |
Fillet Command Techniques
Polyline Option
Use P + Enter to fillet all corners of a rectangle or polyline simultaneously. Perfect for shapes created with the Rectangle tool.
Individual Corner Method
Click two edges that meet at a corner to create a rounded connection. Works on any two intersecting lines or edges.
Non-touching Lines
Connect separate lines with curved edges. The distance between lines acts as diameter, ignoring user-specified radius.
Fillet Command Workflow
Ensures continuous operation without command restarts
Use R + Enter to specify radius before filleting
Efficiently fillets all four corners simultaneously
Different features may require different radius values
Creates capsule shapes and smooth connections
When filleting non-touching lines, the distance between them acts as the diameter for the fillet, and any user-entered radius value will be ignored.
Key Takeaways




